氣焊管子時,一般采用對接接頭。由于管子的用途不同,其焊接質量的要求也不同,對于重要管子,要求單面焊雙面成形,以滿足較高工作壓力的要求,對于中壓以下的管子,則要求不漏且達到一定的強度。
對于比較重要管子的氣焊,當壁厚小于2.5mm時,可不開坡口;當壁厚大于2.5mm時,為使焊縫全部焊透,需要將管子開成V形坡口,并留有鈍邊,具體見表2-4。
表2-4 管子氣焊時的坡口形式和尺寸

注:采用右焊法時坡口角度為60°~70°。
對接時坡口的鈍邊和間隙大小均要適當,不可過大或過小。當鈍邊過大或間隙過小時,焊縫不易焊透,從而會降低接頭的強度;當鈍邊過小或間隙過大時,容易燒穿,使管子內壁產生焊瘤,減少管子的有效截面積,增加管內介質在管內的流動阻力。接頭一般可焊接兩層,應防止焊縫內外表面凹陷或過分凸出。一般管子的加強高度不得超過管子外壁表面1~2mm或管子壁厚的1/4,其寬度應蓋過坡口邊緣1~2mm,并應均勻平滑地過渡到母材金屬。
一、水平轉動管的氣焊使用方法
由于管子可以自由轉動,因此焊縫熔池始終可以控制在方便的位置上焊接。
當管壁小于2mm時,最好處于水平位置焊接。對于管壁較厚和開有坡口的管子,則應采用爬坡焊,而不應處于水平位置焊接。由于管壁厚,填充金屬多,加熱時間長,如果熔池處于水平位置,不易得到較大的熔深,也不利于焊縫的金屬堆高,同時會造成焊縫成形不良。
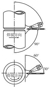
當采用左焊法時,應始終控制在與管子垂直中心線成20°~40°的范圍內進行焊接,如圖2-31(a)所示。這樣不但便于加大熔深,還能控制熔池形狀,使接頭均勻熔透,同時使填充金屬熔滴自然流向熔池下部,使焊縫成形快,且有利于控制焊縫的高度。每次焊接結束時,要填滿熔池,火焰要慢慢離開熔池,以免出現氣孔、凹坑等缺陷。
當采用右焊法時,火焰吹向熔化金屬部分,為了防止熔化金屬由于火焰吹力而產生焊瘤缺陷,熔池應控制在與管子垂直中心線成10°~30°的范圍內,如圖2-31(b)所示。

圖2-31 轉動管的焊接位置
焊接直徑為200~300mm的管子時,為防止變形,應采用對稱焊法。
1. 打底層的焊接
為保證焊透,第一層焊縫可采用“非穿孔焊法”或“穿孔焊法”進行焊接。
(1)非穿孔焊法。非穿孔焊法是將氣焊火焰在如圖2-32所示的位置,使焊嘴中心線與鋼管焊接處的切線方向成45°左右的傾斜角,如圖2-32所示,并加熱起焊點。當坡口鈍邊熔化并形成熔池后,立即向熔池中填加焊絲。
焊接過程中,焊嘴要始終不斷地做圓圈形運動,焊絲要一直處于熔池的前沿,但不要擋住火焰,以免產生未焊透的現象,同時要不斷地向熔池中填加焊絲。
收尾時,應在鋼管環焊縫接頭處重新熔化后,使火焰慢慢地離開熔池。

圖2-32 非穿孔焊法
(2)穿孔焊法。穿孔焊法就是在焊接過程中使金屬熔池的前端始終保持一個小熔孔的焊接方法。
首先根據管壁的厚度,按表2-5選擇好焊炬的型號、焊嘴號碼和焊絲直徑。
表2-5 采用穿孔焊法氣焊鋼管的工藝參數

將氣焊火焰調至中性焰,并在施焊位置加熱起焊點,直至在熔池的前沿形成和裝配間隙相當的熔孔(圖2-33)后方可施焊。

圖2-33 起焊處的小熔孔
焊接過程中要使小熔孔不斷前移,同時要不斷地向熔池中填加焊絲,以形成焊縫。焰心端部到熔池的間距一般應保持在4~5mm。間距過大會使火焰的穿透能力減弱,不易形成小熔孔;間距過小,火焰焰心易觸及金屬熔池,使焊縫產生夾渣、氣孔等缺陷。
在保證焊透的前提下,焊接速度應適當地加快。焊嘴一般要做圓圈形運動,這樣一方面可以攪拌熔池金屬,有利于雜質和氣體的逸出,從而避免夾渣和氣孔等缺陷的產生;另一方面也可以調節并保持熔孔直徑。
中途停止焊接后,若需要再繼續施焊,必須將前一焊縫的熔坑熔透,然后再用“穿孔焊法”向前施焊。
收尾時,可稍稍抬起焊炬,用外焰保護熔池,同時不斷地填加焊絲,直至收尾處的熔池填滿后,方可撤離焊炬。
2. 其余各層的焊接
焊接其余各層時,層與層之間起焊點的間距應保持在20mm以上。起焊時,必須待起焊處的金屬熔化后方可向熔池中填加焊絲。每層焊縫要盡量一次焊完。若中途停止焊接,需再次焊接時,應待前一層焊縫的熔坑形成熔池后,才可向前施焊。
氣焊過程中,焊嘴應做適當橫向擺動,而焊絲僅做往復跳動。當焊絲與氣焊火焰相遇后,便形成熔滴進入熔池。
焊接填充層時,火焰能率可適當加大一些,并多填加一些焊絲,以提高生產率。焊接蓋面層時,火焰能率應適當小一些,以使焊縫表面成形良好。
收尾時,應將終端和始端重疊10mm左右,并使火焰慢慢地離開熔池,以防止熔池金屬被氧化。
二、垂直固定管的氣焊操作方法
垂直固定管氣焊時,管子垂直立放,接頭形成橫焊縫,其操作技巧與直焊縫的橫焊相同,只需要隨著環形焊縫的前進而不斷地變換位置,以始終保持焊嘴、焊絲和管子的相對位置不變,從而更好地控制焊縫熔池的形狀。
1. 左焊法
垂直固定管一般采用不開坡口或單邊V形坡口等接頭形式。開有坡口的管子,如果采用左焊法,方法如圖2-34所示。
為保證焊透,需要進行多層焊,其焊接順序如圖2-35所示。

圖2-34 垂直固定管的左焊法
焊接時,應隨多層(道)焊縫所處的位置不同,始終保持如圖2-36所示的焊嘴中心線與鋼管軸向之間的夾角,以保證每層(道)焊縫間的良好熔合,防止焊瘤等缺陷的產生。

圖2-35 多層焊的焊接順序

圖2-36 多層多道焊時焊嘴與鋼管的相對位置
當氣焊不開坡口的垂直固定管時,火焰能率應比焊水平轉動管時小10%~15%。焊嘴應向上傾斜,并與鋼管軸向成65°~75°的夾角,同時焊嘴還要保持與鋼管切線方向的夾角為45°~50°,如圖2-37所示,以利于火焰的吹力來托住熔池金屬,而不使其下淌。
當管壁較薄時,焊嘴一般不做橫向擺動,但焊絲要始終浸在熔池中。而當管壁較厚時,焊嘴要做小環形擺動,焊絲做斜圓形擺動,并在擺動過程中不斷被火焰加熱熔化。焊嘴在擺動過程中,要避免產生咬邊及焊瘤等缺陷。

圖2-37 焊嘴、焊絲與鋼管的相對位置(垂直固定管左焊法)
為防止火焰燒手,可將焊絲在距前端約100mm處彎成90°~ 110°,手持垂直向下的一端。
2. 右焊法
對于壁厚7mm以下的垂直固定管焊接,操作熟練的焊工可采用右焊法單面焊雙面成形一次焊成,但焊接速度不宜過快,必須將焊縫填滿,并且具有一定的余高。垂直固定管的右焊法如圖2-38所示。

圖2-38 垂直固定管的右焊法
采用右焊法時,氣焊火焰能率要與焊接一般同等厚度焊件時相同或稍小一些。焊嘴中心線與鋼管軸向的夾角一般為80°左右,與鋼管切線方向的夾角為60°左右,如圖2-39所示。
開始焊接時,先將被焊處加熱,使鈍邊熔化,然后將熔池燒穿,形成一個大小等于或稍大于焊絲直徑的小熔孔,如圖2-40所示。這樣可以保證管子焊透,得到雙面成形。
通過對熔孔大小的控制,可以控制熔池的溫度。熔池的大小保持在等于或稍大于焊絲直徑為宜,這樣,熔孔一直保持到焊接結束,最后填滿。

圖2-39 焊嘴、焊絲與焊件的相對位置(垂直固定管右焊法)

圖2-40 熔孔形狀和焊絲的運動范圍
1—熔孔;2—焊絲運動范圍
當熔孔形成后,即可填加焊絲。在焊接過程中,焊嘴不做橫向擺動,只在熔孔和熔池之間做微小的前后移動以控制熔池的溫度。
如果熔池溫度過高,為使熔池得到冷卻,此時火焰不必離開熔池,可將火焰的高溫區朝向熔孔,這樣,使得外焰仍然籠罩著熔池和近縫區,保護液態金屬不被氧化。
在焊接過程中,焊絲應始終浸在熔池里,并不停地向上挑鐵水,如圖2-41所示。焊絲的運動范圍不應超過管子對口下部坡口深度H的1/2,如圖2-40所示,否則容易造成熔滴下淌。

圖2-41 右焊法時的焊絲運動
三、水平固定管的氣焊操作方法
水平固定管的氣焊比較困難,由于焊接包括所有的焊接位置,所以也稱為全位置焊接,其焊接位置分布如圖2-42所示。

圖2-42 水平固定管焊接位置分布
因為焊縫是環形,所以應隨焊縫空間位置的改變,逐漸將焊嘴和焊絲繞著管子旋轉,應不斷地保持焊嘴和焊絲的夾角,通常保持在90°,焊絲、焊嘴與焊件的夾角一般保持在45°。實際操作時,需要根據管壁的厚度和熔池形狀的變化,適當調整和靈活掌握,以保持不同位置時的熔池形狀,既保證焊透,又不至于過燒或燒穿。
水平固定管應分成兩個半圈進行焊接,如圖2-43所示。在定位焊結束后再進行正式焊接。焊接前半圈時,起點和終點都要超過管子的垂直中心線,其超出長度一般為5~10mm。焊接后半圈時,起點和終點都要和前段焊縫搭接10~20mm,以防止在起焊點和收尾處產生焊接缺陷。
當焊縫根部要求焊透時,最好采用“穿孔法”進行焊接。

圖2-43 水平固定管的氣焊
1、2—前半圈;3、4—后半圈
在焊接過程中,為了調整熔池的溫度,焊接火焰不要離開熔池,而是利用火焰的溫度分布來進行調節。當采用中性焰時,保持火焰的長度,離開焰心2~4mm,這樣的操作既能調節熔池溫度,又不會使焊接火焰離開熔池,不讓空氣侵入熔池,同時又保證了焊縫底部不產生內凹和未焊透,特別是在打底層焊接時更為有利。但這種操作方法由于內焰的最高溫度處與焰心的距離通常為2~4mm,焊嘴的送進距離小,所以難度較大,不易控制。
值得注意的是,仰焊時,焊嘴與焊絲要配合得當,焊絲不應填加過多,根據熔池形狀的變化,不斷地調整氣焊火焰對熔池的加熱時間。當熔池增大時,應立即將火焰移開,待熔池稍冷后再繼續焊接。焊接過程中要嚴格控制熔池溫度,以防焊縫金屬過熱、過燒或形成焊瘤等缺陷。












